Как сделать пружину своими руками
Пружину, которая будет долго служить и максимально эффективно выполнять свои задачи, можно изготовить не только на производстве. Да, там есть возможность полностью соблюсти весь производственный процесс, все его параметры, правильно выбрать характеристики всех технологических процессов (например, температуру закалки). Однако простую пружину для механизма, который работает в щадящем режиме, можно сделать и своими руками.
Для этого понадобятся следующие материалы:
- непосредственно пружина и проволока подходящего для задуманного агрегата размера;
- газовая горелка;
- слесарный инструмент;
- тиски;
- бытовая или термическая печь.
Если диаметр проволоки не более 2 мм, то пружину можно сделать, не применяя термическую обработку. Для этого необходимо таким образом разогнуть проволоку, чтобы она стала абсолютно ровной, а затем с усилием намотать ее на оправку.
Что касается диаметра оправки, то он должен быть немного меньше, чем внутренний диаметр пружины, который вы хотите получить.
Если же диаметр пружины, которую вы хотите использовать как исходный материал больше 2 мм, то, прежде чем начинать с ней работу, ее нужно подвергнуть отжигу. Потому что без этой процедуры такую толстую проволоку невозможно выпрямить и навить.
- В первую очередь нужно правильно подобрать материал для будущей пружины – это половина успеха. В производстве используются сплавы цветных металлов (65Г, 60ХФА, 60С2А, 70СЗА, Бр. Б2 и т.д.) или специальные стали (углеродистые или легированные). Если же вы решили сделать пружину самостоятельно, самым подходящим материалом для этого станет другая пружина нужного размера (обращать внимание нужно на диаметр проволоки, из которой она изготовлена).
- Отжиг лучше всего проводить в специальной термической печи. Если же вам не удалось найти такую, то используйте кирпичную или металлическую. Разведите огонь на березовых дровах и в угли положите пружину. Подождите, пока она не раскалится докрасна, и пусть она продолжает лежать в печи до полного ее охлаждения. После такой процедуры отжига проволока станет пригодной для навивания.
- Выпрямите ее и намотайте на оправку. Делайте это так, как описано выше. При процедуре изготовления пружины витки навивайте вплотную друг к другу.
- Теперь закалите пружину, чтобы она не потеряла форму. Для этого ее необходимо нагреть до температуры 830-870 градусов и опустить в трансформаторное масло (можно использовать и веретенное). Естественно, что вы не сможете по приборам отслеживать нужную температуру, поэтому определяйте ее визуально по цвету нагретого металла. При температуре 830-900°С металл имеет светло-красный цвет. Если такой оттенок появился – пружина дошла до нужного состояния.

- После закалки нужно сжать пружину до сжимания витков и оставить ее, не разжимая, на 20-40 часов. Затем сточите на точильном агрегате концы пружины и изделие готово.
- Смотреть статью о заневоливании пружин.
Простой способ делать любые пружины
Во многих механизмах используется нестандартная пружина, которую в случае износа невозможно заменить по причине отсутствия в продаже. В таком случае ее можно сделать своими руками, не тратя время на поиски схожих аналогов, требующих обрезки.
Инструменты и материалы:
- дверная пружина;
- газовая горелка;
- плоскогубцы;
- отвертка;
- машинное масло;
- прут или болт соответствующий диаметру необходимой пружины.
Изготовление нестандартной пружины
Для работы потребуется проволока из специализированной стали 65Г или подобной. В качестве ее источника можно использовать отрезок от обычной дверной пружины, поскольку она продается в любом хозяйственном и строительном магазине.
Чтобы ее размотать, нужно провести отжиг стали, сделав ее гибкой. Для этого она разогревается до темно-красного цвета газовой горелкой, паяльной лампой или в горне, после чего оставляется остывать на воздухе.
Медленно остывшая сталь отпускается, поэтому пружина легко разматывается в проволоку.
После этого берется оправка соответствующая внутреннему диаметру нестандартной пружины, которую нужно сделать, и на нее наматывается проволока вплотную виток к витку. Намотка делается внатяжку, чтобы заготовка получила правильную цилиндрическую форму.
После намотки пружина снимается с оправки. Если она должна работать на растяжение, то на ее концах делаются проушины. Когда же нужна пружина сжатия, то следует развести витки. Для этого между ними заводится отвертка, и с ее помощью создается необходимое расстояние. У прижимной пружины первые и последние витки должны быть плотными, а центр иметь разводку.
В таком случае она будет работать в правильном направлении, не норовя соскочить в сторону. Когда заготовка приобретет необходимую форму, ее можно обрезать.
Далее стали нужно вернуть упругость. Для этого она разогревается до темно-красного цвета и быстро опускается в масло. После закалки металл становится твердым.
Закаленная пружина хрупкая. Чтобы она получила оптимальный баланс между твердостью и эластичностью, требуется высокий отпуск. Для этого заготовка разогревается до температуры 400-500 градусов Цельсия. Определить, что она раскалена достаточно можно по цвету. Сначала пружина станет светло-василькового цвета, а потом светло-серой, что и сигнализирует о достижении нужной температуры. После разогрева она охлаждается на воздухе.
Сделанная таким способом пружина получается жесткой и упругой. Соблюдение предложенных ориентиров при отжиге, закалке и отпуске позволят практически воссоздать заводскую технологию производства.
Благодаря этому самодельная пружина ничем не уступает покупным изделиям.
Смотрите видео
Изготовление пружин своими руками | Retro Tech Journal
Иногда при создании проекта я сталкиваюсь с проблемой, когда не могу найти нужную пружину. Я обхожу различные скобяные магазины, и все пружины либо слишком большие, либо слишком короткие, либо недостаточно жесткие. Я мог бы заказать некоторые, но это большая задержка, и если вы добавите доставку, пружины будут довольно дорогими. Вот когда пришло время сделать несколько пружин. На токарном станке довольно легко наматывать пружины, и вы можете сделать их длинными/короткими, толстыми/тонкими. Я наматываю свои из рояльной проволоки, и они работают нормально. коммерческие пружины прослужат дольше, поэтому для вещей, которые будут ездить на велосипеде, постоянно используйте коммерческие, но для тех вещей, которые делаю я, удобно иметь возможность делать свои собственные на месте.
Недавно мне пришлось изготовить пружину сжатия для робота, звенящего в гонг, и я сделал несколько фотографий, чтобы показать, как это делается.
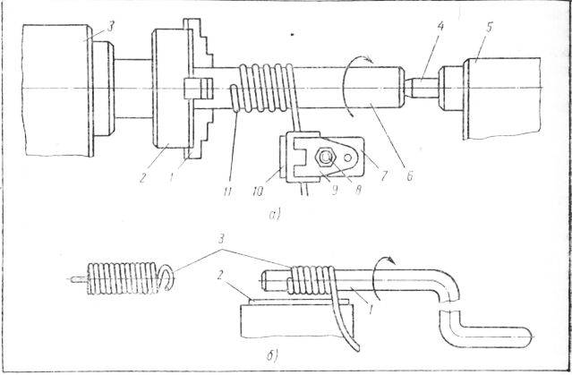
Вам нужен способ натяжения проволоки при проворачивании, поэтому я сделал этот маленький держатель, просверлив отверстие # 47 в болте 1/4-20 , а затем нарезав отверстие в каком-то квадратном штоке, чтобы я мог зажать его. в моем держателе инструмента. Я добавил пластиковую шайбу и гайку 1/4-20 , которую можно было отрегулировать, чтобы немного натянуть провод и немного натянуть его. Весь жир свободно плавает в своем резьбовом отверстии, поэтому он естественным образом отслеживает угол, который нужен проводу.
Чтобы намотать пружину, я просто сгибаю конец проволоки так, чтобы его можно было засунуть между губками токарного станка. Несколько острый угол лучше спилить на скольжение. Затем я проворачиваю токарный станок вручную, чтобы сделать пару оборотов на стержне. Затем вы включаете полугайку, чтобы проволока равномерно подавалась вниз по стержню, как при нарезании резьбы с помощью одноточечного инструмента. Когда пружина станет достаточно длинной, вы отсоединяете полугайку и делаете еще пару оборотов, чтобы сформировать другой конец пружины.
Не делайте этого под напряжением. Порка пианино сильно вас порежет. Я всегда ношу защитную маску, даже когда делаю это вручную. Обрезать рояльную проволоку бокорезами — это весело, потому что иногда вылетает несколько искр. (Думаю, из-за содержания углерода в проволоке.)
Для таких небольших пружин, как эта, когда стержень, который я наматываю, тонкий, я держу другой конец стержня в патроне Джейкобса в задней бабке. У меня нет такого, который вращается свободно, но если вы просто используете обычный и ослабите его, чтобы он не был зажат на стержне, стержень можно будет поворачивать, но губки поддерживают стержень, чтобы он не прогибался.
Как провернуть токарный станок вручную? Можно конечно просто крутить патрон, но я давно отлил эту рукоятку. Он входит в головку токарного станка и расширяется, чтобы зажать его. Затем я могу стильно проворачивать. После обрезки пружин и шлифовки концов я обычно помещаю их в духовку при 400 на 30 минут. Это должно снять напряжение, которое они испытывают при намотке.
Здесь вы можете увидеть последние пружины перед тем, как я завернул их в алюминиевую фольгу и засунул в духовку.
Несколько заключительных замечаний. Следите за тем, чтобы не повредить пружины . Это вызовет ужасный рост напряжения, и пружина в конечном итоге выйдет из строя. Не пытайтесь наматывать кучу пружин за один раз, начиная и заканчивая полугайкой, а затем разрезая их на части. Это кажется хорошей идеей, но попытка отрегулировать вещи, чтобы иметь возможность повторно зацепить полугайку в середине изготовления пружин, приводит к неаккуратным пружинам. Я сделал эти пружины из фортепианной проволоки стоимостью 1 доллар и, возможно, потратил несколько часов на возню, но это включало создание держателя проволоки 1/4-20. Раньше я просто натягивал проволоку с помощью зажима Йоргенсена, но этот способ дает более плавные пуски/остановки, поскольку место, где я держу проволоку, находится ближе к стержню, вокруг которого она наматывается. Обычно на намотку некоторых пружин уходит всего несколько минут.
(не считая времени в духовке)
Подобно этому:
Нравится Загрузка…
Пружины кручения — Узнайте о
Пружина кручения — это тип механической пружины, которая работает за счет приложения крутящего момента или силы кручения при скручивании вдоль своей оси. Пружина сделана из проволоки, намотанной в виде спирали, концы проволоки прикреплены к неподвижной точке на одном конце и к вращающейся точке на другом конце. Когда точка вращения поворачивается, пружина накапливает энергию за счет скручивания, а когда сила вращения сбрасывается, пружина раскручивается и высвобождает накопленную энергию. Хотя название подразумевает иное, торсионные пружины подвергаются изгибающему, а не скручивающему напряжению. Они могут накапливать и высвобождать угловую энергию или статически удерживать механизм на месте, отклоняя ноги вокруг центральной оси тела.
Пружина кручения обычно имеет плотную намотку, но может иметь шаг для уменьшения трения между витками.
Торсионные пружины сопротивляются скручиванию или силе вращения. В зависимости от применения торсионная пружина может быть рассчитана на вращение по часовой стрелке или против часовой стрелки, что определяет направление ветра.
Применение пружин кручения
Пружины кручения обычно используются в различных устройствах, таких как дверные петли, гаражные ворота, рычаги и различные типы механизмов. Они также используются в игрушках, часах и других потребительских товарах, где требуется вращающая сила. Размеры варьируются от миниатюрных, используемых в электронных устройствах, до больших торсионных пружин, используемых в блоках управления креслами. Пружины кручения могут быть изготовлены из различных материалов, включая сталь, нержавеющую сталь и другие сплавы, в зависимости от конкретных требований применения. Они ценятся за способность обеспечивать высокий крутящий момент, а также за долговечность и длительный срок службы.
Конфигурации пружины кручения
Существует множество вариантов конфигурации ноги для пружины кручения , поэтому пружину кручения можно прикрепить различными способами.
Спецификации ножек, которые следует учитывать для торсионной пружины, включают угол ножек, длину и стиль ножек. Считается, что пружины, которые являются прямыми или параллельными на одной стороне, имеют угол опоры 0º, а увеличивающийся угол находится в направлении раскручивания. Общие конструкции пружины кручения включают прямую пружину кручения , прямая смещенная торсионная пружина , шарнирная торсионная пружина , короткий конец крюка и конструкции конца крюка . Концы пружины кручения могут быть спроектированы с индивидуальными изгибами, поворотами, крючками или петлями в соответствии с потребностями вашего проекта. Стандартные торсионные пружины Lee Spring предлагаются на выбор: 90 градусов, 120 градусов, 180 градусов, 210 градусов, 270 градусов, 300 градусов и 360 градусов положения свободной ноги с прямыми ногами. Пружины двойного кручения Custom состоят из одного набора витков, закрученных вправо, и одного набора витков, закрученных влево.
Эти катушки соединены, как правило, с размотанным участком между витками и работают параллельно. Секции спроектированы отдельно, при этом общий крутящий момент представляет собой сумму двух.
В чем уникальность торсионных пружин?
Одной из уникальных особенностей торсионной пружины является то, что она может накапливать и высвобождать энергию посредством скручивающего движения, в отличие от более распространенных движений сжатия и растяжения других типов пружин. Это крутящее движение позволяет пружине кручения создавать высокий крутящий момент или вращающую силу, что делает ее подходящей для приложений, где требуется вращающая сила, например, в дверных петлях, гаражных воротах и различных типах машин.
Еще одним уникальным аспектом торсионных пружин является то, что их свойства можно регулировать, изменяя параметры конструкции, такие как диаметр проволоки, внешний диаметр и количество витков. Это делает их легко настраиваемыми и универсальными, что позволяет адаптировать их для удовлетворения конкретных требований различных приложений.
Кроме того, торсионные пружины известны своей высокой прочностью и долгим сроком службы благодаря своей способности выдерживать многократное скручивание и раскручивание без усталостного разрушения. Это делает их надежным и экономичным выбором для многих промышленных и бытовых применений.
Стандартные торсионные пружины
Стандартные торсионные пружины Lee Spring были тщательно разработаны с учетом наиболее часто используемых спецификаций как в дюймовых, так и в метрических размерах. Стандартные торсионные пружины предлагаются в широком диапазоне вариантов и конфигураций и доступны для немедленной поставки из нашего большого склада. Выбирайте из тысяч вариантов конструкции, угла наклона и длины ножек, а также пружин с левосторонней и правосторонней намоткой. Стандартные торсионные пружины предлагаются из различных пружинных материалов, включая музыкальную проволоку, нержавеющую сталь 302 и нержавеющую сталь 316. Музыкальные проволочные пружины Lee Spring включают гальваническое покрытие, а стандартные торсионные пружины из нержавеющей стали идеально подходят для коррозионной стойкости и включают пассивирование.
Стандарт Пружина кручения Свободные углы
Пружина кручения 90°
Пружина кручения 120°
Пружина кручения 180°
Пружина кручения 210°
Кручение 270° Пружина
Торсионная пружина 300°
Пружина кручения на 360°
Lee Spring предлагает бесплатную стандартную наземную доставку заказов на пружину кручения со склада , бесплатное покрытие, квалифицированную инженерную помощь, службу поддержки клиентов в реальном времени и многое другое. Стандартные торсионные пружины Lee Spring предлагаются с ножками одинаковой длины, ориентированными под разными углами без нагрузки. Пружины кручения
Пружины кручения по индивидуальному заказу
Компания Lee Spring может изготовить пружины кручения по индивидуальному заказу в соответствии с вашими точными спецификациями для всех ваших проектов. Мы предлагаем квалифицированную инженерную поддержку от проектирования до производства.
Выберите из обширного ассортимента материалов и вариантов отделки те, которые идеально подходят для вашей конструкции торсионной пружины. Кроме того, мы можем поддержать ваш проект с помощью проектирования пружины кручения с помощью САПР, экспертизы государственных и промышленных нормативов, а также прототипов в крупных производственных циклах. Lee Spring предлагает расширенные производственные возможности и широкий спектр опций для ваших потребностей в производстве торсионных пружин, таких как; передовые системы контроля качества, нормативные знания, включая RoHS, REACH и DFARS, проектирование продуктов с помощью САПР, собственные услуги по производству прототипов и глобальная сеть цепочки поставок. Просто запросите предложение сегодня или свяжитесь с инженером Lee Spring, чтобы получить помощь в проектировании или ответить на любые вопросы, чтобы помочь начать свой индивидуальный проект Spring.
Чтобы узнать больше о различных материалах пружин и покрытиях, обычно используемых для пружин кручения:
Узнайте больше о материалах пружин кручения
Узнайте больше о покрытиях пружин кручения и обработке поверхности
Узнайте больше о том, что может привести к отказу пружин кручения
Запрос
Рекомендации по конструкции пружины кручения
Пружина кручения имеет ряд конструктивных элементов, которые необходимо учитывать при работе с пружиной кручения .
Ниже приведен список ключевых проектных соображений при работе с торсионными пружинами в вашем приложении:
- Нагрузки на торсионные пружины должны быть указаны в фиксированном угловом положении, а не в фиксированном отклонении от свободного положения.
- Испытание пружины крутящего момента выполнить непросто. Измерения крутящего момента для пружин кручения могут быть выполнены, они могут быть противоречивыми.
- Уменьшение внутреннего диаметра торсионной пружины и потенциальное заедание должны учитываться в вашем приложении.
- Для торсионных пружин, требующих минимального гистерезиса (потери нагрузки), торсионные пружины должны иметь пространство между соседними витками для уменьшения потерь на трение.
- Пружина кручения всегда должна быть нагружена в направлении, при котором диаметр ее корпуса уменьшается. Остаточные формирующие напряжения благоприятны в этом направлении, но неблагоприятны, когда пружина нагружается в направлении, увеличивающем диаметр тела.

Между оправкой и торсионной пружиной должен постоянно поддерживаться зазор, чтобы предотвратить заедание. Идеальный размер оправки равен или немного меньше 9.0% внутреннего диаметра. когда пружина полностью отклонена (минимальный диаметр). Следует избегать оправок значительно меньше 90%, чтобы предотвратить изгиб при больших отклонениях.- Большинство торсионных пружин имеют закрытую навивку; следовательно, длина тела пружины кручения будет увеличиваться, когда пружина отклоняется в сторону уменьшения диаметра витка. В конструкциях герметичных корпусов следует учитывать это увеличение.
- Торсионная пружина Направление ветра всегда должно быть указано для торсионной пружины.
Вы можете определить направление ветра торсионной пружины, просто держа ее в руке, положив пальцы вокруг корпуса снаружи и направив большой палец прямо вверх. Если последний виток заканчивается в том же направлении, на которое указывают ваши пальцы, это рука (направление ветра) пружины.
Общие конфигурации ножек торсионной пружины
Торсионные пружины могут быть спроектированы и изготовлены в широком диапазоне конфигураций концов и ножек торсионной пружины. Специальные конфигурации стоек с торсионной пружиной доступны по запросу. При проектировании торсионных пружин важно учитывать, что изгибы, нагруженные для уменьшения их радиуса кривизны, имеют благоприятные остаточные напряжения. Они могут работать при более высоких уровнях приложенного напряжения, чем изгибы, которые увеличивают радиус под нагрузкой. Часто характеристики торсионной пружины ограничены, потому что резко изогнутые концы испытывают большую нагрузку, чем тело.
Конфигурации осевой торсионной пружины
0 градусов
90 градусов
180 градусов
315 градусов
Конфигурации тангенциальной торсионной пружины 9 0030
0 градусов
90 градусов
180 градусов
315 градусов
Конфигурации ножек с радиальной торсионной пружиной
0 градусов
90 градусов
180 градусов
315 градусов
Радиальный центр над тангенциальной торсионной пружиной
0 градусов
90 градусов
180 градусов
315 градусов
Двойные торсионные пружины
Специальные типы торсионные пружины включают двойные торсионные пружины и пружины, имеющие пространство между витками для минимизации трения.
Двойные пружины кручения состоят из одного набора витков, закрученных вправо, и одного набора витков, закрученных влево. Эти катушки соединены, как правило, с размотанным участком между витками и работают параллельно. Секции спроектированы отдельно, при этом общий крутящий момент является суммой двух.
Терминология торсионной пружины
Активные витки: Количество витков пружины, которые сжимаются или растягиваются под нагрузкой.
Угловое отклонение: Угол поворота, измеренный от свободного положения до установленного, промежуточного или конечного положения.
Свободный угол: Угол между плечами торсионной пружины, когда пружина находится в ненагруженном положении.
Внутренний диаметр: Внутренний диаметр пружины, то есть диаметр окружности, которую образует проволока, когда пружина не находится под какой-либо нагрузкой.
Длина ножки: Длина прямых участков на каждом конце пружины, которые используются для крепления пружины к другим компонентам.
Оправка: Стержень или вал, на который действует пружина кручения.
Тип материала: Тип материала, используемого для изготовления пружины, который может повлиять на ее прочность, долговечность и другие свойства.
Максимальное отклонение: Максимальное скручивание пружины до того, как она достигнет своего предела упругости и начнет постоянно деформироваться.
Внешний диаметр: Внешний диаметр пружины, который представляет собой диаметр окружности, которую образует проволока, свернутая в спираль.
Радиус: Радиус изгиба, при котором к опоре прилагается нагрузка. Радиус обычно принимается равным ½ длины ноги.
Скорость пружины:
Величина крутящего момента, создаваемого пружиной при заданном угле закручивания, который обычно измеряется в единицах крутящего момента на единицу угла (например, Нм/градус или фунт-дюйм/радиан). Крутящий момент: Скручивающее действие в пружинах кручения, вызывающее вращение, равное произведению нагрузки на расстояние от нагрузки до оси корпуса пружины.

